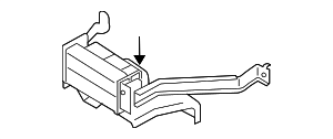
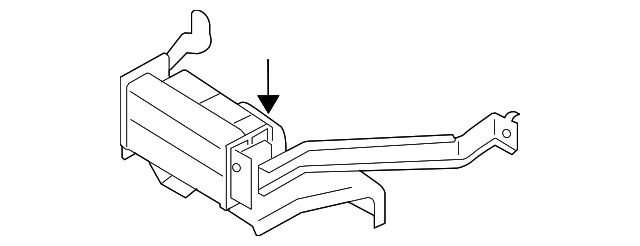
Distance Sensor - Infiniti (284371UX0B)
Genuine Infiniti Parts
- Infiniti
- 284371UX0B
- 284371ux0a
Also Purchased
Vehicle Fitment
Select Your Vehicle Select
| Year | Make | Model | Body & Trim | Engine & Transmission |
|---|
| Year | Make | Model | Body & Trim | Engine & Transmission |
|---|